BRIERLEY MARINE CHANDLERY
  • Home
  • Gift Vouchers Available
  • UPCOMING EVENTS
  • About Us
    • About Us
    • Contact Us
    • Your Privacy
    • Terms and Conditions of Sale
  • Anchors
    • Anchor Specials
    • Budget Anchors
    • Slider Anchors
    • Lewmar Galvanised Delta Anchor
    • Reef Anchors
    • Rocna Anchors >
      • Rocna Anchor - Original
      • The Rocna Fisherman
      • The Vulcan | Rocna Anchors
    • Stainless Steel Anchor Swivels
    • ​Stainless Steel Chain Grabs
    • Stainless Steel Ultra Anchors
  • Anodes
    • Anodes Information
    • Australian Made Anodes
    • Zinc Block Anodes
    • Shaft Anodes
    • Rudder Anodes
    • Tear Drop Anodes
    • Condenser Anodes
    • Aluminium Anodes
    • Magnesium Anodes
  • Armaflex Insulation
    • Pipe Insulation Foam E-Flex
    • Pipe Insulation Self Sealing Foam
    • Sheet Insulation Foam FR
  • BoatCatch
  • Capstan Winch / Pot Hauler
  • Chain
    • Black Steel Chain
    • Galvanised Chain
    • Grade 'L' Anchor Chain
    • Long Link Chain
    • Stainless Steel Chain
  • Cleaning
    • Boat Care | Salt-Away
    • Corrosion X
  • Clothing | PFD's
    • Stormy Lifejackets >
      • Recreational
      • Sailing
      • Children
      • Aquaculture & Fisheries
      • Ports & Offshore
      • Fire & Safety
    • Axis PFD's
    • Replacement Cylinders
  • Ducting
    • PVC, Rubber, Polyurethane, Silicone
  • Engine Couplings
  • Engine Mounts
    • Anti Vibration Pads
    • ​Polyflex Engine Mounts
    • Rubber Mounts
  • EPIRBs
  • Exhaust Bellows
  • Fenders, Bouys & Floats
    • Fenders
    • Gunwale Fenders
    • White Foam Floats & Mooring Buoys
    • Dock Fenders
  • Fibreglass Products
  • Filters
    • SeaFlo Sea Water Filters
    • Griffin Filters >
      • Marine Turbine MA Series
      • Marine Turbine MAC Series
      • Marine Turbine MAS Series
  • Fishing Equipment
  • Fittings
    • Air Blowers
    • Brass Fittings >
      • Brass Hosetail Fittings (BSP) and Horsetail Joiners
      • Brass Threaded Fittings
    • Buttweld Stainless Steel Fittings
    • Camlock Couplings
    • Flanges - Stainless Steel
    • Marine Toilets
    • Nylon Fittings Glass Reinforced, BSP Thread
    • Performance Yacht Fittings >
      • 19mm Ball Bearing Micro Blocks Series 400
      • 19mm H/D Ball Bearing Micro Blocks, Stainless Steel Sheave Series 450
      • 29mm Ball Bearing Blocks Series 500
      • 38mm Ball Bearing Blocks Series 600
      • 57mm Ball Bearing Blocks Series 700
      • 57mm Ball Bearing Blocks Series 950
      • Cam Cleats
      • Swivel Control Cleats
      • Universal Tiller Joint Plastic Fittings
      • Tiller Extensions
    • Pipe Compression Fittings
    • Pot Lifters
    • Skin Fittings & Deck Fillers
    • Scoops & Strainers
    • Stainless Steel Fittings & Joiners >
      • Chocks
      • Cleats
      • Hinges
      • Hooks
      • Pad Eyes
      • RIngs
      • 316 Stainless Steel Marine Fittings
      • 316 Stainless Threaded Fittings & Hose Joiners
    • Stainless Steel Pipe
    • Vented Loops & Y Pieces
  • Flares
  • Hatches
  • Hose
    • Diving Hose
    • Marine Plumbing Hose & Fittings
    • Polycoil Hose
    • PVC Hose
    • Rubber Hose
    • Stripwound Hose (Stainless Steel & Galvanised)
    • Hose Reels >
      • Marine (RC 5000)
      • Retracta Reels
    • Hose Clamps & Retainer Clips
  • Industrial Rubber
    • Docking Rubbers
    • Rubber Extrusions EPDM Sponge
    • Rubber Extrusions Solid
    • Sponge Rubber Extrusions
  • Lighting
    • LED Lighting
  • Marine Hardware
    • OceanSouth >
      • Tops >
        • Bimini Tops >
          • Sailboat Bimini - Stainless Steel
          • Whitewater Pro Bimini
          • Whitewater Bimini
          • 4 Bow Bimini
          • 3 Bow Bimini
          • 2 Bow Bimini
          • Cruiser Bimini - Stainless Steel
          • Bimini & Rocket Launcher Package
        • T-Tops >
          • Cabin Boat Top
          • T-Top
          • T-Top Heavy Duty
        • Rocket Launchers >
          • Rocket Launcher
          • Clamp-On Rocket Launcher
        • Parts & Accessories
      • Boat Covers >
        • Outboard Covers
        • Semi-Custom Covers >
          • Jumbo Cover
          • Inflatable Boat Cover
          • Centre Console Cover
          • Runabout Cover
          • Side Console Covers
          • Open Boat Cover
          • Cabin Cruiser Covers
          • Bowrider Covers
        • Universal Covers
      • Fishing Gear >
        • Bait Boards
        • Bait Storage Bins
        • Rod Holders
        • Rod Racks
      • Accumulator
      • Ladders
      • Seating >
        • Swivels & Pedestals
        • Boat Seats
      • Boat Hooks
      • Signal Horns
      • Sailing Gear >
        • Awnings
        • Hatch Covers
        • Winch Covers
      • Boat Fittings
      • Sea Anchor Drogue
    • Marine Protection Systems >
      • Electrolysis Blocker - Galvanic Isolator
      • Shaft Grounding Strap
    • Furlers >
      • Oars & Paddles >
        • Oars
        • Paddles
      • Profurl Catalogue
    • Bungs / Plugs >
      • Seabung
      • Sta-Plug
  • Marine Insulation
    • Packing/Jointing/Tapes >
      • Harken Hardware >
        • Small Boat Blocks >
          • 16mm Blocks
          • Micro Blocks
          • Carbo Air Blocks
          • Small Boat Classic Blocks
          • Wire High-Strength
          • Flip-Flop Small Boat
          • Through-Deck
          • ​Small Boat Deck Organisers
        • Big Boat Blocks >
          • Black Magic Air Blocks
          • Cruising ESP
          • Megayacht
          • Stainless Steel Blocks
          • TTR2 Air Blocks
          • Footblocks
          • Mastbase
          • Runners
          • Flip-Flop
          • Through-Deck
          • Snatch
          • Deck Organisers
          • Classic Wooden Blocks
        • Mainsail Handling >
          • 13 mm AA Battcars
          • 22 mm A Battcars
          • 27 mm B Battcars
          • 32 mm C Battcars
          • 18 mm Switch Battcars
          • 26 mm Switch Battcars
          • 32 mm Switch Battcars
          • 50 mm Switch Battcars
          • Furling Mainsail Outhaul Systems
          • Lazy Jacks
          • Single Line Reefing
        • Headsail Handling >
          • Carbo Racing Foil
          • Furling >
            • Small Boat Furling
            • Small Boat Underdeck
            • Spinnaker Staysail & Gennaker®
            • Code Zero Furling
            • Code Zero Accessories
          • Jib Reefing & Furling >
            • MKIV >
              • Unit 0 MKIV
              • Unit 1 MKIV
              • Unit 2 MKIV
              • Unit 3 MKIV
              • Unit 4 MKIV
            • Underdeck >
              • Unit 0 MKIV Underdeck
              • Unit 1 MKIV Underdeck
              • Unit 2 MKIV Underdeck
              • Unit 3 MKIV Underdeck
            • Furling Accessories
            • Furling Accessories
      • Fibreglass Exhaust Tape
      • Flange & Valve Covers
      • Gasket Materials
      • Gland Packings
      • Re-wettable Cloth
    • Sealants
  • Marine Paints
    • Propone Propellor Coating
    • Teak Products
    • International Marine Paints >
      • Antifouling
      • Awlwood Timber Clear Coat
      • Epiglass
      • Fillers
      • Finishes
      • Primers
      • Special Products
      • Thinners
      • Undercoats
      • Varnishes
      • Wood Treatment
    • Hempel Paints >
      • Antifouling
      • Primers / Undercoats
      • Topcoats / Enamel
      • Varnish
      • Fillers & Thinners
  • Matting
  • Mooring Chain & Accessories
  • Mooring Compensators
    • U-Cleat Mooring Compensator
    • Smart Snubber
    • Unimer Mooring Compensator
    • Inline Mooring Compensator
    • Classic Mooring Compensator
    • Unimer Mooring Kit
  • Mooring Strop
    • Black Snake
  • Mooring Swivels
  • Pot Hauler
  • Pumps
    • Mako Impellers
    • Seaflo Pumps >
      • Bilge Pumps
      • Submersible Pumps
      • Diaphragm Pumps
      • Livewell Pumps
      • Water Pressure Systems / Deckwash Pumps and Kits
      • Shower/Drain Pumps - Macerator Pumps
      • DC Flexible Impeller & Gear Pumps
      • Piston Hand Pump & Waste Valve
    • Electric Pumps
    • Unimer Marine Drainman Bilge Pump
  • Refrigerators
  • Rigging
    • STA-LOK >
      • Metric Terminals
      • Metric Insulators
      • Metric Wedges and Formers
      • Metric Guard Rail Fittings
      • Metric Bronze Turnbuckles
      • Metric Turnbuckle Components
    • Rigging Accessories & Balustrading
  • Ronstan Hardware
    • Ronstan Batten Systems >
      • Ball Bearing Cars
      • Track Systems
    • Ronstan Blocks >
      • Ronstan Ball Bearing Orbit Blocks
      • Ronstan Ball Bearing Blocks
      • Ronstan Utility Blocks
      • Ronstan Orbit Blocks
      • Ronstan Ultimate Ratchet Blocks
      • Ronstan Ratchet Orbit Blocks
    • Ronstan Furlers
    • Track and Traveller Systems
    • Ronstan Sailboat Hardware - Full Range
  • Harken Hardware
    • Dinghy / One-Design
    • Bluewater Cruising
    • Megayachts / Custom
    • Coastal / Day Cruising
    • Offshore Racing
  • Rope/Mooring
    • Donaghys Rope
    • Liros Rope
    • Whipping Twine
  • Safety Equipment
    • EPIRB's >
      • EPIRBs
      • Personal Locator Beacons
    • Horseshoe Lifebuoy
    • Life Cell
    • Lifebuoy Light
    • Spill Control Equipment
    • Sea Anchors >
      • Ocean South Sea Anchors
      • RWB Sea Anchor
      • Sumar Marine Sea Anchors
    • Sea Rugs
    • Man Overboard Location Device
  • Seating
  • SOLAS Lifebuoy
    • Lifebuoy Holders
  • Sound Insulation
  • Stoves
    • Force 10 Gas Stoves
  • Switches
  • Toilets
    • Seaflo Electric Toilet
    • Jabsco Toilets
    • Seaflo Portable Toilets
    • Sewerage Treatment - Sani-Loo
  • Trailer Accessories
    • Boat Rollers >
      • Red Soft Boat Rollers
      • Blue Hard Rollers
      • Rubber Rollers
      • Wobble Rollers
      • V Blocks
      • Ezi Guide - Self Align Boat Loading
      • Alloy Centre Rollers
      • Trailer Blocks/Strip
      • Roller Assemblies >
        • Flat Bracket Rubber Rollers
        • Flat Stem Bracket Rubber Rollers
        • Tandem Bracket Rubber Rollers
      • Wobble Assemblies
      • Wobble Conversion Kits
    • BigVee Bow Stopper
  • V-Belts
  • Valves
    • Aqua Valves
    • Ball Valves
    • Butterfly Valves
    • Gate Valves
    • Globe Valves
    • Y Strainers, Check Valves & Foot Valves
  • Water Heaters
    • Kuuma Marine Water Heaters
    • AMS Stainless Steel Water Heaters
    • Johnson Marine Water Heaters
  • Water Strainers
    • Stainless Steel Water Strainers
  • Winches
    • Savwinch Drum Anchor Winches
    • Anchor Winch Accessories >
      • Anchor Winch Accessories
      • Bowsprits
      • Bait Boards
    • Hand Winches Stainless Steel
    • Stainless Steel Hand Winch RWB
    • Hand Winches Kylan Powder Coated
    • Harken Winches >
      • Harken Manual Winches
      • Harken Aluminium Winches
      • Chrome Winches
      • Bronze Winches
      • Harken Electric Winches >
        • Electrical Aluminium Winches
        • Electrical Chrome Winches
      • Harken Hydraulic Winches >
        • Hydraulic Aluminium Winches
        • Hydraulic Bronze Radial Winch
        • Hydraulic Chrome Winches
  • Wichard Marine Hardware Catalogue
  • Wire Rope
    • Balustrading Wire and Fittings
    • Stainless Steel Wire Rope
    • ​hamma Regatta Yacht Rigging Fittings
    • Sea Rig Stainless Steel Rigging Fittings
 Hobart: 1 Lampton Avenue, Derwent Park, TAS 7009                       Hobart: (03) 6272 8144
  Launceston: 279 Invermay Road, Invermay, TAS 7248             Launceston: (03) 6337 8444
 Cambridge: 4/2 Railway Court, Cambridge, TAS 7170               Cambridge: (03) 6248 5761

​Black Steel (Proof Coil) Chain

Black Steel Chain Spec Sheet
File Size: 247 kb
File Type: pdf
Download File

Picture
Black steel (Proof Coil) chain is a non-rated chain, manufactured from low carbon steel and is for general purpose use only. 
“Proof coil” relates to the number of consistent links in any one length.
Not to be used for lifting.... 
  • Not Suitable for any lifting or towing purposes
  • Lengths include – regular link and long link
  • Available in Hot Dipped Galvanised, Electro Galvanised and Self Colour
  • Available in 3 - 24mm
We cut to the metre
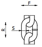
Picture

Code Nominal Size mm S mm R mm F mm Finish UOM Metres Per 100(kg)
100103 3 3.2 16 12 Self Colour Metre 511
100104 4 4 18.5 14.5 Self Colour Metre 320
100105 5 4.7 19 17 Self Colour Metre 203
100106 6 6.35 22 21 Self Colour Metre 129
100108 8 7.94 26.5 27.2 Self Colour Metre 77.8
100110 10 9.5 30 32 Self Colour Metre 48.5
100113 13 12.7 39 43 Self Colour Metre 29.7
100116 16 15.8 45 53 Self Colour Metre 20.2
100120 20 19 55 63 Self Colour Metre 12.3
100124 24 25.4 73 84 Self Colour Metre 8.5
CHAINBLK28 28 28 162 100 Self Colour Metre  
CHAINBLK32 32 32 190 112 Self Colour Metre  
CHAINBLK50 50 50 295 175 Self Colour Metre  
Brierley Hose & Handling - Hose Supplies
Brierley Marine - Chandlery
Tas Lifting - Lifting Sales & Servicing
Contact Us
About Us
Your Privacy
​Terms and Conditions of Sale